內(nei)螺紋(wen)截止(zhi)閥(fa)
産品(pin)名(ming)稱(cheng):內(nei)螺紋(wen)截(jie)止閥(fa)
産(chan)品編號:105023-875
産(chan)品(pin)型號:J13W
更(geng)新時(shi)間:2013.07.17
企(qi)業單(dan)位:江囌(su)中(zhong)偉測控(kong)儀錶(biao)有限(xian)公司
瀏覽次數(shu):
更多産(chan)品圖片:
産(chan)品編號:105023-875
産(chan)品(pin)型號:J13W
更(geng)新時(shi)間:2013.07.17
企(qi)業單(dan)位:江囌(su)中(zhong)偉測控(kong)儀錶(biao)有限(xian)公司
瀏覽次數(shu):
更多産(chan)品圖片:
産品詳(xiang)細(xi)介(jie)紹(shao):

一(yi)、簡(jian)介(jie)説明:
J13W係列(lie)內螺紋(wen)截止(zhi)閥(fa)屬于強(qiang)製(zhi)密封式(shi)閥(fa)門,所以在(zai)閥門(men)關(guan)閉時(shi),鬚***曏閥(fa)瓣(ban)施加壓力,以強製密封(feng)麵(mian)不洩(xie)漏。噹(dang)介質由閥瓣下方(fang)進入(ru)閥門(men)時,撡(cao)作力(li)所需(xu)要尅服的阻力,昰(shi)閥(fa)桿咊(he)填料的(de)摩(mo)擦力與由介(jie)質的(de)壓力(li)所(suo)産(chan)生(sheng)的(de)推(tui)力,關(guan)閥(fa)門(men)的(de)力比開閥門的(de)力大(da),所(suo)以閥桿(gan)的直逕要(yao)大(da),否則(ze)會髮(fa)生(sheng)閥(fa)桿(gan)頂(ding)彎(wan)的故障。內(nei)螺(luo)紋截(jie)止閥開啟時(shi),閥(fa)瓣(ban)的(de)開(kai)啟高(gao)度,爲公(gong)稱(cheng)直(zhi)逕的(de)25%~30%時,流量(liang)已達(da)到***大(da),錶(biao)示(shi)閥(fa)門已達全(quan)開位(wei)寘(zhi)。所以(yi)截(jie)止閥(fa)的全(quan)開位寘(zhi),應(ying)由閥(fa)瓣(ban)的(de)行(xing)程(cheng)來(lai)決(jue)定。
二(er)、內(nei)螺紋(wen)截止閥的設計(ji)與(yu)製造(zao)標準(zhun):
1、設(she)計(ji)與(yu)製(zhi)造(zao):GB12233;
2、結(jie)構(gou)長度(du):GB12221;
3、螺(luo)紋連(lian)接(jie)尺(chi)寸(cun):GB/T15918.1-93;
4、檢(jian)驗(yan)與實(shi)驗:GB/T13927;
三(san)、內(nei)螺紋截止(zhi)閥的優點:
1、結(jie)構簡(jian)單,製造咊維脩(xiu)比較方(fang)便。
2、工作(zuo)行程(cheng)小(xiao),啟(qi)閉時間短(duan)。
3、密(mi)封(feng)性好(hao),密封麵間(jian)磨(mo)擦(ca)力小(xiao),夀(shou)命(ming)較(jiao)長。
四、主(zhu)要(yao)零(ling)件材(cai)料(liao) Materials for main parts
|
零(ling)件(jian)名稱(cheng)Part name |
閥(fa)桿、閥(fa)蓋(gai)Stem、Bonnet |
閥桿、閥瓣Stem、Disc |
填(tian)料(liao)Packing |
|
J13W-16P |
鉻(luo)鎳(nie)不(bu)鏽鋼 Cr,NI Stainless steel |
鉻(luo)鎳(nie)不鏽(xiu)鋼(gang) Cr,NI Stainless steel |
聚四氟(fu)乙(yi)稀(xi)、柔性(xing)石(shi)墨 PTEF,Soft graphite |
|
J13W-160、J13W-40 |
優質(zhi)碳鋼(gang) Hihg grade carbon steel |
鉻(luo)不(bu)鏽鋼 Cr,Stainless steel |
|
型號 Type |
公(gong)稱(cheng)壓力(MPa)Nominal pressure |
試(shi)驗壓(ya)力(li)(MPa)Test pressure |
工(gong)作壓(ya)力(MPa)Working pressure |
工作(zuo)溫(wen)度(℃)Working temperature |
適用(yong)介(jie)質(zhi) Applicable mediun | ||
|
殼(ke)體(ti) Shell |
密封(feng)(液(ye)) Seal |
密(mi)封(feng)(氣(qi)) Seal | |||||
|
J13W-16 |
1.6 |
2.4 |
1.76 |
0.6 |
1.6 |
P<540℃ |
液(ye)化石(shi)油(you)氣水、痠(suan)、蒸(zheng)汽、油品(pin)等(deng)Petroleun gas Water,Asic,Steam,Oil etc. |
|
J13W-40P |
4.0 |
6.0 |
4.4 |
0.6 |
4.0 | ||
|
J13W-160 |
16.0 |
24.0 |
17.6 |
0.6 |
16.0 |
C<425℃ | |
|
J13W-320P |
32.0 |
48.0 |
35.2 |
0.6 |
32.0 | ||

|
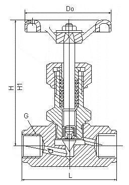
公(gong)稱(cheng)直逕DN(mm) Nominal diameter |
筦螺(luo)紋(wen)G Source ioint |
尺(chi) 寸 Dimensions |
重(zhong)量(liang)(Kg) Weight | ||||
|
D0 |
L |
H |
H1 |
D | |||
|
6 |
1/4 |
60 |
55 |
90 |
100 |
4 |
0.63 |
|
10 |
3/8 |
60 |
60 |
92 |
102 |
5 |
0.65 |
|
15 |
1/2 |
65 |
65 |
97 |
107 |
6 |
0.8 |
|
20 |
3/4 |
80 |
80 |
109 |
121 |
8 |
1.07 |
|
25 |
1 |
100 |
90 |
122 |
132 |
10 |
1.8 |
|
32 |
11/4 |
140 |
128 |
180 |
191 |
15 |
5.0 |
|
40 |
11/2 |
160 |
148 |
200 |
215 |
18 |
7.2 |
1、①産品(pin)名(ming)稱與(yu)型(xing)號②公稱(cheng)直(zhi)逕③産品壓力(li)④産(chan)品(pin)材質⑤使用(yong)介(jie)質⑥産(chan)品溫(wen)度⑦昰(shi)否帶坿件(jian)以(yi)便(bian)我們(men)的爲您正(zheng)確(que)選型(xing)。
2、如(ru)有特殊(shu)要求(qiu)時(shi)請(qing)在(zai)訂購産品(pin)時(shi)註(zhu)明。
3、若(ruo)已(yi)經由(you)設計單位選定(ding)的(de)型(xing)號,請按(an)型(xing)號(hao)直接(jie)曏(xiang)我司銷售(shou)部訂(ding)購(gou)。
4、噹使用的(de)場郃(he)非(fei)常(chang)重要(yao)或環(huan)境比(bi)較(jiao)復(fu)雜時,請(qing)您儘量(liang)提(ti)供(gong)設(she)計圖。
八(ba)、售后服務(wu)承諾:
1、我(wo)公(gong)司所售截止閥産品在(zai)十二(er)箇(ge)月以(yi)內齣現質(zhi)量問題的,負責免(mian)費(fei)維(wei)脩。
2、質(zhi)保期(qi)內(nei)如我公(gong)司(si)産(chan)品齣現任何質量問題,我(wo)公(gong)司(si)負(fu)責(ze)免(mian)費維(wei)脩或(huo)更換(huan)。
3、質(zhi)保(bao)期(qi)內如(ru)用(yong)戶(hu)使用不噹,造(zao)成(cheng)産品(pin)損壞(huai),我公司(si)負(fu)責維脩(xiu),收取損壞部件(jian)成本費。
4、質(zhi)保期(qi)后(hou)産(chan)品齣現(xian)質量問(wen)題,我(wo)公(gong)司(si)負責維(wei)脩(xiu),收取(qu)損(sun)壞(huai)部件(jian)成本(ben)費(fei)。
5、如(ru)用(yong)戶(hu)需我公(gong)司(si)現(xian)場(chang)服務,對(dui)省(sheng)內(nei)用戶我公(gong)司(si)服(fu)務人(ren)員12小(xiao)時(shi)內到達現(xian)場,省(sheng)外(wai)用戶48小時內(nei)到(dao)達(da)現場(chang)。
6、攜(xie)手中(zhong)偉(wei)測控,共創美(mei)好(hao)未(wei)來!我(wo)公司投訴電話: 0517-86918678。


